BM200系列隔離式安全柵
電量傳感器系列



產品簡介
功能:
BM200系列隔離式安全柵采用了限壓、限流、隔離等措施,不僅能防止危險能量從本安端子進入危險現場,提高系統的本安防爆性能,而且增加了系統的抗干擾能力,提高了系統運行的可靠性。
應用范圍:
應用于石油、天然氣開采、煉油、化工、燃油燃氣充裝站、制藥、污水處理等場景。
訂貨范例:
具體型號:BM200-DI/I-C12
技術要求:輸入1路DC 4-20mA;輸出2路DC 4-20mA;準確級0.2級。
通訊協議:無
輔助電源:DC24V
技術參數

應用組網

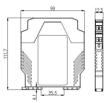
外形安裝
BM200-□□/□-B□□殼體尺寸圖:

BM200-□□/□-C□□殼體尺寸圖:

前面板示意圖:

產品報價


解決方案












